如今一些汽车都取消了车辆仪表盘,虽然从厂商口中是说“追求设计”、“减少盲区”,但这种做法很大程度上还是出于成本考虑。最近大众汽车在德国提交了一份专利,就是使用手机来替代汽车的仪表盘。

大众:手机替代仪表盘
网友:减配说的如此清新
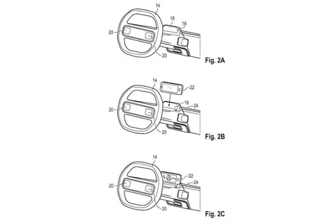
大众提交的这项专利其实十分简单,就是在原本双幅式方向盘前方的仪表盘被取消,变成一个类似手机支架设计。然后把手机横向放置上去,直接可以把手机变成汽车的仪表盘。手机上可以实时显示汽车的速度等主要信息,当然手机本身也可以继续使用手机导航等功能。

大众这个专利看上去简单,使用方式也较为灵活。车主不但可以“一物多用”,也能充当手机支架,另外还能解决开车看手机的坏习惯的。不过从专利上来看,手机必须安装定制软件,上车后与车辆实时链接才行。考虑到目前大众汽车软件研发水平,要完美实现不死机、不出错,或许是个考验。毕竟车主开车到一半可不想遇到手机软件闪退、延迟等问题。

另外,考虑到每个车主的手机型号、软件、配置、网络不同,这种方式需要做到大量适配和优化,这个工作量和难度可不小。
时代变了,汽车发展方向在改变
好了,有网友要说了:“这不就是个手机支架嘛?”、“简配还能做的如此清新?”
其实仔细一想,大众推出类似配置已经不是第一次了。多年前上汽大众就给朗逸(图片|配置|询价)PLUS车内原本中控屏幕的位置安装了一个原厂的手机支架,供用户安放手机。


当时还有不少车主认可大众的做法。他们认为:老款朗逸的丐版本来就没有中控屏,新车虽然依然没有但多给了手机支架其实是在升级配置;另外,之前的中控大屏使用体验不佳,实用性也不行,尤其是车载导航,远不如手机上的体验更好。
其实汽车厂商追求利润在车辆配置用料上缩减本身就是常规做法,只是有些你看的见,有些你看不见罢了。不过相比几年前的朗逸,大众针对新能源时代的智能汽车为车辆和手机打通连接也是现阶段车企都在做的事情。

如今的智能汽车在传统的行驶机械结构上不再重视,或者说在这方面已经遇到瓶颈。转而是在车内体验、人机交互、软件互联等方面不断在升级发力。
写在最后
十年前买车,车企的海报上会强调动力、操控;如今买车,车企的海报上会强调车辆搭载用8155芯片,4K分辨率的屏幕和冰箱的容积。车企错了嘛?或许没有,可能就是时代变了。


渝公网安备50010502503425号
评论·0